High Pressure 1/4″ VCR Metal Gasket Porous Filter for Semiconductor Industry

Porous Metal Gasket Filter for Semiconductor Applications
A Reliable Solution for Protecting Precision Gas Systems:
1.) Designed specifically for semiconductor gas distribution systems, this all-metal filter offers seamless compatibility
with 1/4", 3/8", and 1/2" VCR standard gasket interfaces.
2.) The gasket-style design ensures easy installation, making it an essential protective barrier for
MFC (Mass Flow Controller) modules, precision valves, and pressure regulators.
3.) Capable of withstanding temperatures up to 400°C, the Porous Metal Gasket Filter effectively blocks particle intrusion,
safeguarding sensitive gas components.
4.) By preventing contamination-related leaks, it extends equipment lifespan and reduces maintenance costs.
5.) Available in both low-pressure and high-pressure models, this filter can be retrofitted into existing piping systems,
providing a cost-effective solution for protecting precision equipment from contamination.
 
Specification
| Technical Parameter | Details | 
|---|---|
| Filter Material | Sintered 316L stainless steel powder | 
| Housing/Gasket Material | 316L stainless steel | 
| Surface Finish (Exterior) | Ra ≤ 1.6μm | 
| Surface Finish (Interior) | Polished + electropolished, Ra ≤ 0.2μm | 
| Maximum Operating Temperature | 400°C | 
| Particle Retention Efficiency | ≥99.9999999% (9 LRV) @ 100 slpm (based on MPPS, for all particles) | 
| Particle Size Capture | ≥0.3μm | 
| Compatible Sizes | 1/4’’, 3/8’’, and 1/2’’ VCR standard gasket interfaces | 
| Application | Semiconductor gas distribution systems, MFC modules, precision valves, and pressure regulators | 
| Available Models | Low-pressure and high-pressure versions | 
Product Features
| Product Features | Details | 
|---|---|
| Material | Entirely constructed from 316L stainless steel | 
| Installation | Can be used as a surface-sealing filter, eliminating the need for additional work such as cutting or welding pipes for installation | 
| Durability | Resistant to high temperature, high pressure, and corrosion | 

High Pressure Series
High Pressure Series
Maximum forward pressure differential:
-1/2”:2.9Mpa
-1/4”:10.4Mpa
Flow range:0~300slpm

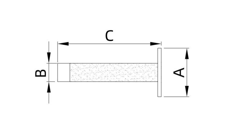
| Product Model | Filter Accuracy (µm) | Gasket Size | A (mm) | B (mm) | C (mm) | 
|---|---|---|---|---|---|
| Z01B-00971 | 0.3 µm (Custom design available) | 1/4" VCR | Φ11.80 mm | Φ4 mm | 20 mm | 
| Z01B-01014 | 0.3 µm (Custom design available) | 1/2" VCR | Φ19.80 mm | Φ7.40 mm | 29.50 mm | 
| Z01B-01037 | 0.3 µm (Custom design available) | 3/4" VCR | Φ29 mm | Φ17 mm | 25 mm | 
Application
Applications of Porous Stainless Steel VCR Gasket Filter
1.Semiconductor Manufacturing:
*Used in gas distribution systems to filter particles and protect sensitive components such as mass flow controllers (MFCs), valves, and regulators.
*Ensures a clean gas supply in processes like chemical vapor deposition (CVD) and etching, preventing particle contamination that can lead to product defects.
2.Pharmaceutical and Biotech Industries:
*Ideal for use in high-purity gas delivery systems for critical processes such as gas sterilization or gas mixing in drug manufacturing.
*Ensures the integrity of the gas used in production by filtering out contaminants that could affect the product quality.
3.Aerospace and High-Tech Manufacturing:
*Applied in precision gas flow control systems used for the manufacture of advanced materials, coatings, and components in aerospace.
*Withstands extreme temperatures and pressures, providing long-lasting particle filtration in demanding environments.
 
4.Chemical Processing:
*Effective in gas supply lines in chemical plants where high temperatures, pressures, and corrosive environments are present.
*Prevents particulate contamination that could disrupt chemical reactions or lead to equipment failure.
5.Laboratory and Research Facilities:
*Used in high-precision gas delivery systems for scientific instruments such as gas chromatographs, mass spectrometers, or other sensitive analytical devices.
*Protects delicate instruments from particulate contamination, improving accuracy and longevity.
6.High-Purity Gas Distribution:
*Essential for systems requiring ultra-clean gas, such as those used in electronics manufacturing, where contaminants can disrupt the manufacturing process.
*The 316L stainless steel construction ensures durability and chemical resistance, making it suitable for harsh operating environments.
7.Cryogenic Gas Systems:
*Suitable for cryogenic gas delivery systems where it is crucial to filter out particles that could affect the performance of cryogenic processes in industries like medical gas supply or liquefied gas handling.
8.Oil and Gas Industry:
*Used in gas filtration systems in refineries or petrochemical plants, ensuring that contaminants are removed from gas streams, protecting equipment from fouling or wear.
Key Benefits for Applications:
*High-temperature and high-pressure resistance allows the filter to function reliably in extreme conditions.
*Corrosion resistance of 316L stainless steel ensures long service life, even in chemically aggressive environments.
*Convenient installation without the need for additional cutting or welding makes it easy to retrofit into existing systems.

Ready to optimize your gas distribution system with a high-performance Porous Stainless Steel VCR Gasket Filter?
Contact HENGKO today to discuss your specific requirements.
Our expert team is here to provide customized OEM solutions tailored to your industry needs.
Reach out via email at ka@hengko.com to get started on designing the perfect VCR gasket filter for your applications!
Send your message to us:










 
             
             
             
            